Roep je vriendjes bij elkaar en ga op ontdekkingstocht in deze speeltoren. Deze multifunctionele speeltoren bevat diverse speelniveaus, waardoor dit toestel uitermate geschikt is voor elke leeftijd.
Dit speeltoestel is standaard uitgevoerd met een HPL-vloer voor nóg duurzamer speelplezier.
| Artikelnummer | VPL-13-1727-RVS |
| Type | Speelcombinaties met dak |
| Materiaal | RVS, Staal |
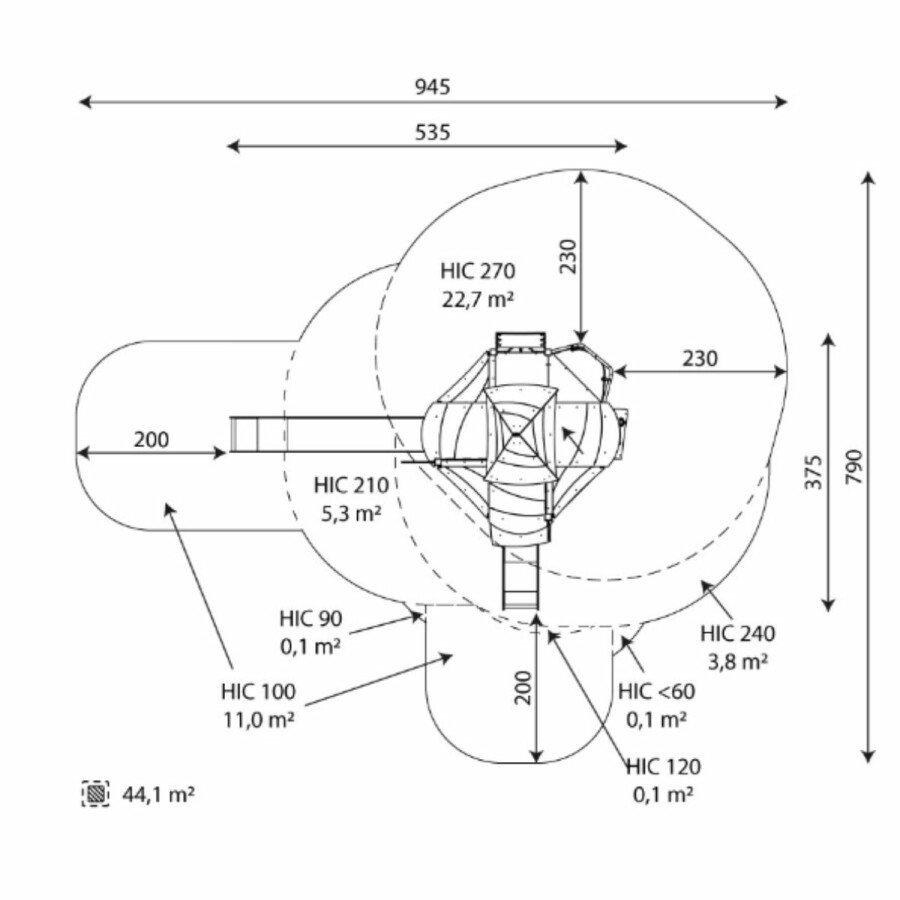
| Valhoogte | 2,7 m |
| Valdempende ondergrond | Ja |
| Opvangzone | 9,0 x 7,0 m |
| Leeftijdscategorie | 4 - 16 jaar |
| Capaciteit | 38 kinderen |
| Speelfuncties | Educatief spelen, Fantasiespel, Glijden, Klauteren, Klimmen |
| Kleur | Blauw, Groen |
Ook jouw speelplek wordt leuker met de aandacht van Replay Speeltoestellen. Neem vrijblijvend contact met ons op voor meer informatie en ervaar zelf wat wij voor jouw speelplek kunnen betekenen.
Key-accountmanager Leisure
Adviseur spelen regio Noord- en West-Nederland
Adviseur spelen
Regio Zuid- en Oost-Nederland